お知らせ

2018.07.08

感染制御と洗浄・消毒・滅菌 

患者さんから見えない歯科医師の倫理観

レストランで食事をする時に食器やナイフ・フォーク、箸などが清潔かどうかは気になるところです。

厨房を見せてもらえばそのお店がどのようなところなのか理解できると思いますが、これらが清潔かどうかでレストランのランクや姿勢がわかると思います。

私は偶然に入ったとんかつ屋さんの厨房がオープンなスタイルで油を使っているにもかかわらずステンレスがガラスのように磨き上げられたピカピカだったことで驚いたことが

あります。もちろん味も抜群でした。

さて、医療機関で治療器具が不潔であると困ります。レストランより清潔が求められます。

例えば胃カメラを飲む時にその器械が不潔であったら?

手術をする時のメスが汚染されていたら?

予防接種をする時の注射針をつかい回していたら?(B型肝炎訴訟)

歯科医院で使う歯を削る器械の中空構造の内部が汚染されていたら?

患者さんには見えないところですがこのようなことは歯科医師の倫理観にまかされています。

過去に読売新聞でこのような記事が掲載されました。

2014/05/18 読売新聞より

歯を削る器械を滅菌せずに使い回している医療機関が約7割に上る可能性があることが、国立感染症研究所などの研究班の調査でわかった。

患者がウィルスや細菌に感染する恐れがあり、研究班は患者ごとに清潔な機器と交換するよう呼びかけている。

調査対象は、歯を削るドリルを取り付けた柄の部分、歯には直接触れないは、治療の際には口に入れるため、唾液や血液が付着しやすい。

標準的な院内感染対策を示した日本歯科医学会の指針は、使用後は高温で滅菌した機器と交換するよう定めている。

調査は特定の県の医療機関3125施設に対して実施した。2014年1月までに891施設(28%)から回答を得た。

滅菌した機器と交換しているか聞いたところ「患者ごとに必ず交換」との回答は34%だった。

一方「交換していない」は17%、「時々交換」は35で、計66%で適切に交換しておらず、指針を逸脱していた。別の県でも同じ調査を07〜13に4回行い、使い回しの割合は平均71%だった。(読売新聞記事より抜粋)

歯科で使用されるドリルの柄が汚染されていると何故いけないのか?

患者さんにこのようなことを説明していると意外に専門家ではないので当然詳しくありません。

「器具は不潔より清潔が良いのは当然です」とか「先生のところは当然キチンときれいな器具を使っているのでしょう」とかお答えになる患者様が一般的です。

しかしこのような院内感染に関する対策はつい最近まで一般的に統一されたものではなく、意外に正しく行われていなかったのです。

1981年にエイズという病気が登場しました。私たちの医院が開業して1年目の年であったので私はこの病気の登場が衝撃的で今でもエポックメイキングの出来事として記憶しております。

1985年にはユニバーサルプリコーションという概念も登場致しました。

ユニバーサルプリコーションとは、どの患者さんも感染症の可能性があることを前提として全ての人の血液と特定の体液の扱いに注意を払うことを義務づけるものです。

この時代以前には予防接種の注射針をつかい回したりする事件もあり血液は危険であり感染源となり得るという概念が定着したようです。

Blood is risk!

1996年にはスタンダードプリコーションという考え方が米国でおこりました。

スタンダードプリコーションとは米国疾病対策予防センター(CDC)が発表し たガイドラインで,全ての患者・医療従事者に適応され, 病原微生物の感染源確認の有無に関わらず,血液,全て の体液,分泌液(涙と汗を除く)、排泄物、傷のある皮膚、 そして粘膜が感染原因になりうるという考えに基づいて います。

歯科で使用されるドリルの柄が汚染されているとB型肝炎、C型肝炎、HIVなどの病気を前の患者さんから次の患者さんへ移しててしまうという可能性があるのです。

滅菌・消毒とはどのように違うのか

ここで滅菌・消毒の定義を共有したいと思います。

滅菌とは無菌性(すべての微生物の殺滅あるいは除去)を達成するためのプロセスを言います。

消毒とは生存する微生物の数を減らすために用いられる処置法で必ずしも微生物をすべて殺滅・除去するものではない。

無菌とは芽胞を含むすべての微生物が存在しないことを言います。

以上の定義から、ドリルの柄をアルコールで拭いただけではいけないことが理解できます。

ドリルの柄、ハンドピースは患者ごと に交換し,使用後は内外面を洗浄,専用オイルによる洗 浄注油後、高圧蒸気滅菌が必要であります。ハンドピース内 部まで、洗浄・滅菌可能な機器が適切であります。

結局、ドリルの柄、ハンドピースは完璧に細菌やウイルスがゼロの状態にして使用しなければならないということです。

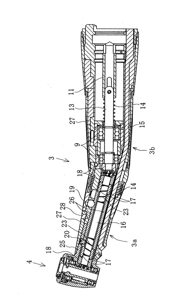
しかしながら、ドリルの柄、ハンドピースはこのような構造をしています。

この複雑な内部の細菌・ウイルスをすべてゼロにしなければならないのです。

この複雑な内部を滅菌するためには何をする?

始めに内部を洗浄したいのですが通常の方法ではこんなことは出来ませんので特殊な洗浄機が必要になります。

このような洗浄機をWasher Disinfecter、ジェットウオッシャーなどと言います。

家庭用の食洗機を想像していただけたらと思います。歯科用のそれと一般家庭のものではきれいにする対象物が異なります。

一般家庭の食洗機では油脂・デンプが対象ですが、医家歯科用では微生物・タンパク質が対象になります。

このビデオは当医院で導入したMELAyhem10のものです。

ジェットウオッシャーは薬事法で認められた医療機器で血液や組織といったタンパク質の洗浄効果に優れ、更に最終すすぎの際水温を93℃まで上昇させて5分間の消毒を行うので高レベルな熱湯消毒が可能です。

次の工程は注油です。当医院ではドイツKaVo社のクワトロケアという機器を使用して注油と同時にオイルで内部の洗浄を行っています。

クアトロケアの後はKaVo ステリマスターというクラスSのオートクレーブ高圧蒸気滅菌器でさらに滅菌します。

高圧蒸気滅菌器・オートクレーブは何故必要か?

熱を加えると微生物は殺滅されることは良く知られています。

熱を加える滅菌法としては高圧蒸気滅菌と乾熱滅菌が知られていますが歯科では何故、高圧蒸気滅菌器・オートクレーブが使われているのでしょうか?

何故、蒸気が必要かというと蒸気は乾熱に比べて熱伝導率が高いということです。

蒸気であれば121℃+2気圧 20分で全ての微生物を殺滅できますが、乾熱では160〜200℃、30〜120分の時間が必要になります。結局、乾熱滅菌は実用性がありません。

高圧蒸気滅菌器にもランクがある

オートクレーブにもクラスB、クラスS、クラスNというランクが存在します。

クラスBオートクレーブとは、ヨーロッパの基準EN13060に準じたオートクレーブのことを表します。このEN13060とは「あらゆる種類の滅菌物(固形、包装、多孔性、中空のあるもの)を完全に滅菌できる」ということを意味しており、このEN13060に準じているものはクラスBオートクレーブとされています。

オートクレーブは一般の歯科外来診療所では今や必須の滅菌器ですが、滅菌可能な対象物によってその能力に違いがあることについては、ほとんど知られていません。クラス分けされたヨーロッパの基準については下記の表をご覧下さい。

当医院ではクラスB、クラスSのオートクレーブを使用しております。

日本の一般的な歯科医院で使用されているクラスNは使用しておりません。

なぜならば、クラスNでは非包装の固形物、裸の状態のものしか滅菌できないからです。

まとめ

歯を削るドリルの柄の内部を滅菌して微生物を殺滅することが非常に困難を伴うことがご理解していただけたと思います。

まるで料理人が作る手の込んだ料理の一品を想像できます。

まずは、洗浄して茹で上げるのに1時間かかります。最終的には90℃でゆであげ油でさっと分焼き目を付けます。

最後に135℃で7分蒸しあげます。

このようにして一本の歯を削る器械は気が遠くなるような長時間の工程を経て患者様の目の前に出てきます。

とにかく、この当たり前の器具の滅菌も非常に困難を伴います。

歯科の治療はすべて当たり前のことを当たり前に行うことが非常に難しいものです。

こんな複雑な器具の内部の微生物をゼロにするなんて気が遠くなりそうです。

どうかご理解くださいますようお願い致します。

吉川英樹 拝

診療時間
9:00~13:00 × × ×
14:30~18:00 × × ×
休診日
木曜日/日曜日/祝日
診療時間
9:00〜13:00 / 14:30〜18:00
※土曜日は17時まで

ご予約・ご相談はこちら

【所在地】
〒261-0004
千葉県千葉市美浜区高洲1丁目24−2
TEL: 043-279-9991

電車でお越しのかたへ
電車でお越しのかたへ

「JR稲毛海岸駅」より徒歩3分で当院につきます。

お車でお越しのかたへ
お車でお越しのかたへ

駐車場がございますので前もってお申し付け下さい。
稲毛海岸北口駐車場No.114、No.115、No.116